混凝土是目前世界上用途最广、用量最大的建筑材料,随着城市化进程的加快商品混凝土得到了迅速的推广和应用,很多建筑工地的面貌经过使用商品混凝土得到了很大的改观。随着预拌混凝土的广泛使用,预拌混凝土搅拌站如何做好环保工作,成为环境保护工作的一项重要任务。下面从传统搅拌站存在的问题出发,提出混凝土搅拌站做好环保工作以及相应的改进措施。
传统混凝土搅拌站存在的主要污染
一、粉尘
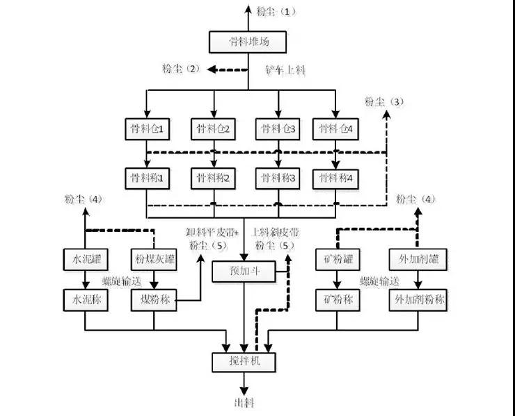
混凝土生产过程中主要粉尘分布及形成如下图所示:

混凝土生产过程中主要扬尘分布情况
1、主要是砂石料运输装卸车及自然堆放风吹引起的粉尘;
2、主要是铲车上料过程中撒漏、碾压造成;
3、成因是骨料仓漏料到骨料称,而后卸料到平皮带经由斜皮带提升过程中产生的大量无组织不定向粉尘;
4、是泵送各类粉料或其他方式上料以及粉料罐卸料引起罐体内粉料运动在罐顶产生的各种粉尘。
5、是各种粉料经过称量后进入搅拌机和骨料经过斜皮带提升进入预加斗再进入搅拌机过程中产生的大量粉尘混合物。

二、废水、废渣
废水来源主要有两点:一是清洗混凝土罐车及搅拌机产生的废水,此部分废水量大且浓度高,通常含有砂石、粉料混合物、外加剂等不溶物且固含量不稳定;二是冲洗厂区及进出厂区的大型车辆产生的废水,这部分废水相对成分简单且稳定。废渣来源主要是清洗混凝土罐车及搅拌机后的混合物经过分离后产生的混合物,成分主要是砂石。

三、噪音
第一类是固定噪音:空压机、带式输送机、布料机、通风机、除尘机,搅拌机铰刀等厂区机械噪音。
第二类是流动噪音:砂石料装载机、粉料和骨料运输车、混凝土罐车等。
应对措施及改进方案
由于粉尘类污染伴随混凝土生产的整个环节,对环境的影响最为直观且迅速,对此应从整个环节出发,环环相扣,减弱或消除产生粉尘的隐患
1、厂区加装自动洗车机:进出厂的混凝土罐车、粉状物料运输车、砂石料车都应该经过自动洗车机,实现自动清洗,防止粉尘带出带入厂内。
2、全封闭式料场并加装自动喷淋系统:砂石料场是搅拌站产生粉尘较多的地方,砂石料卸车等过程都能产生大量粉尘。碎石粉尘含量高,在储存及运送过程中较易产生扬尘,砂料(特别是机制砂)中石粉含量更高,在商品混凝土搅拌站骨料储存料场上引入全封闭式骨料场,墙体采用新型建材空心砖,不仅能使骨料卸料时的粉尘不排放到周边环境中,同时也能有效地降低工程车辆的噪声污染。再次应当在料场进出口及骨料仓等位置设置自动喷淋系统,防止进出料场的车辆带入带出粉尘以及卸料过程中产生的扬尘,进一步降低粉尘浓度。料仓上部也应当设置喷淋设施,防止生产上料时产生的粉尘。

3、场地硬化:厂区整体(绿化区域除外)应进行硬化处理,既能保证原材料的质量,又能减少因场地裸露风吹引起的扬尘。
4、全封闭式搅拌楼:骨料应采取全封闭式输送方式,对于预加斗与斜皮带接口处的大量粉尘应设置专用除尘设备,集中处理收集后送入搅拌机再利用。再次粉料仓也应是全封闭式结构,对于因料仓不同的进料及下料方式引起的粉料在罐体内部运动形成的粉尘采用不同的除尘设备及方法将其回收再利用。
5、投料工艺研究:对于砂、石、水泥、水等物料的投料时序以及交叉投料方式进行试验研究,得出一套最佳的投料工艺方案,有效地减低粉尘排放。
废水及废渣相较于粉尘对环境的影响更为持久和隐蔽,我们更应加强对废水废渣的管控,关于废水废渣回收利用的方案如下:
1、混凝土搅拌站应安装砂石分离机和配套的压滤机。首先,剩的混凝土经砂石分离机分离以后砂子、石子可以直接再次利用。其次,分离出的粉料浆体经过压滤机可以直接压成块状。最后,沉淀后的废水经过水循环装置,可以用于循环使用,不产生任何废水和废渣污染。
2、洗车泵抽取经过澄清的回收水,通过洗车注水管注入搅拌车做洗车用水。洗完后的污水及残渣排入泄料槽,借助料槽冲洗水泵抽取搅拌池的污水形成的高速流动水流进入砂石污水回收分级机。砂与石被分级机从污水中分离出来,可重新成为搅拌混凝土的原材料,而污水通过排水槽回到搅拌池。
3、搅拌池的搅拌器周期性转动,使污水保持均匀不沉淀,通过泥浆泵抽到搅拌楼上的暂存槽里。暂存槽出水口的电磁阀根据主机发出的信号闭合或开启向水计量秤注水,作为搅拌混凝土的材料回到混凝土里。
噪声控制
噪音污染不仅对厂区职工的身心造成巨大伤害,更影响周边群众的正常生产生活,因此我们应在以下几个方面做好防范措施:

1、整个站的封闭:整个搅拌站全部封装,主机的封装材料采用隔音板,封闭料场采用空心砖进行隔音等都可将噪音降低到最低程度;
2、采用新型搅拌主机:搅拌站的噪声源主要来自搅拌主机,新型搅拌主机采用提高罐体的制造精度、采用新型减速机和传动系统的可有效地减低噪声。
3、气路减噪:搅拌站中大量使用气缸作执行元件,至行程尾部时冲击大,噪声高,可引入气液结合缓冲气缸,至行程尾部时液压缓冲,降低噪声。
4、厂区绿化:厂区内办公区、生活区应进行合理绿植,品种应选择能抑尘降噪的灌木及乔木类品种,厂区四周也应种植树木降低噪声传播。

建立健全环保制度
首先应组织全厂职工积极学习环保方面法律法规及相关案例,从我做起,从点滴做起,牢固树立起环境保护刻不容缓的思想认识。
再次编写出台环保管理制度以及重污染天气应急预案等企业相关制度和规范,加强绿色环保生产管理的力度,快速地推动绿色环保生产进程,使绿色环保生产的目的和要求渗透到混凝土生产的各项管理工作中。同时应当选派专人负责厂区内环保工作的相关事宜,做到及时反馈、快速响应、狠抓落实、能打硬仗的工作态度和行动。
最后,应加强与当地环保部门及相关部门的交流学习,提升专业技能知识,不断升级改造现有设备及工艺,打好这场持久战,为祖国增添更多蓝天。
随着国家控制环境污染的力度不断加大,人们的环保意识不断增强,混凝土搅拌站做好环保工作是今后混凝土搅拌站可持续发展的重要方面。混凝土搅拌站应积极响应国家环保的号召,积极做好混凝土生产的环保工作,引领混凝土行业向节约环保型企业发展。
本文资源来自《 混凝土信息网》,旨在交流信息分享技术,如有侵权,请及时联系,我们将在第一时间予以删除处理。

新闻动态